段返人形の内部機構の説明
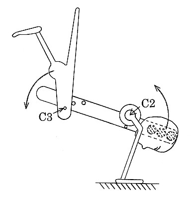
以下は市販の組み立て人形(茶運人形の項を参照)を参考にして、バック転をする原理が分かるように人形を真横から見た図に書き直したものです。水銀は3個の鉄球に、また、水銀の通る管は頭と胴を貫く円筒に置き換えられています。図中のCは回転中心、Sはストッパーを示します。
- 最初に鉄球は頭部にあります。C1を中心とするモーメントが生じ、人形全体はC1を中心に反時計回りに回転します。
- 手のひらが台につき、人形はC2を中心に反時計回りに回転します。
|  (2) |  (1) |
- 人形全体の回転によって脚部もC3を中心に反時計回りに回転し、脚部と胴部は一直線になります。
|  (3) | |
- C2を中心とするモーメントが大きくなり、頭部より脚部が低くなって鉄球は胴体下部へ移動します。足が下の段へつくまで人形は回転を続けます。
--> (1)から(5)までのアニメーション
|  (4) | |
 (5) | - 足が下の段へつくと、C4を中心とするモーメントが生じ、上部胴体は反時計回りに回転します。慣性力によって均衡点以上に回転し、頭部が回転するとともに腕も回転し、(1)の状態に戻ります。以下、段が続く限り人形は(1)から(5)の運動を繰り返します。
--> (5)から(1)へのアニメーション
| |
|